Аплодисменты за находчивость.
Кажется, Samsung придумала гениальный способ, как сделать бескомпромиссный безрамочный смартфон. Инженеры убрали фронталку с передней панели и перенесли ее в стилус.
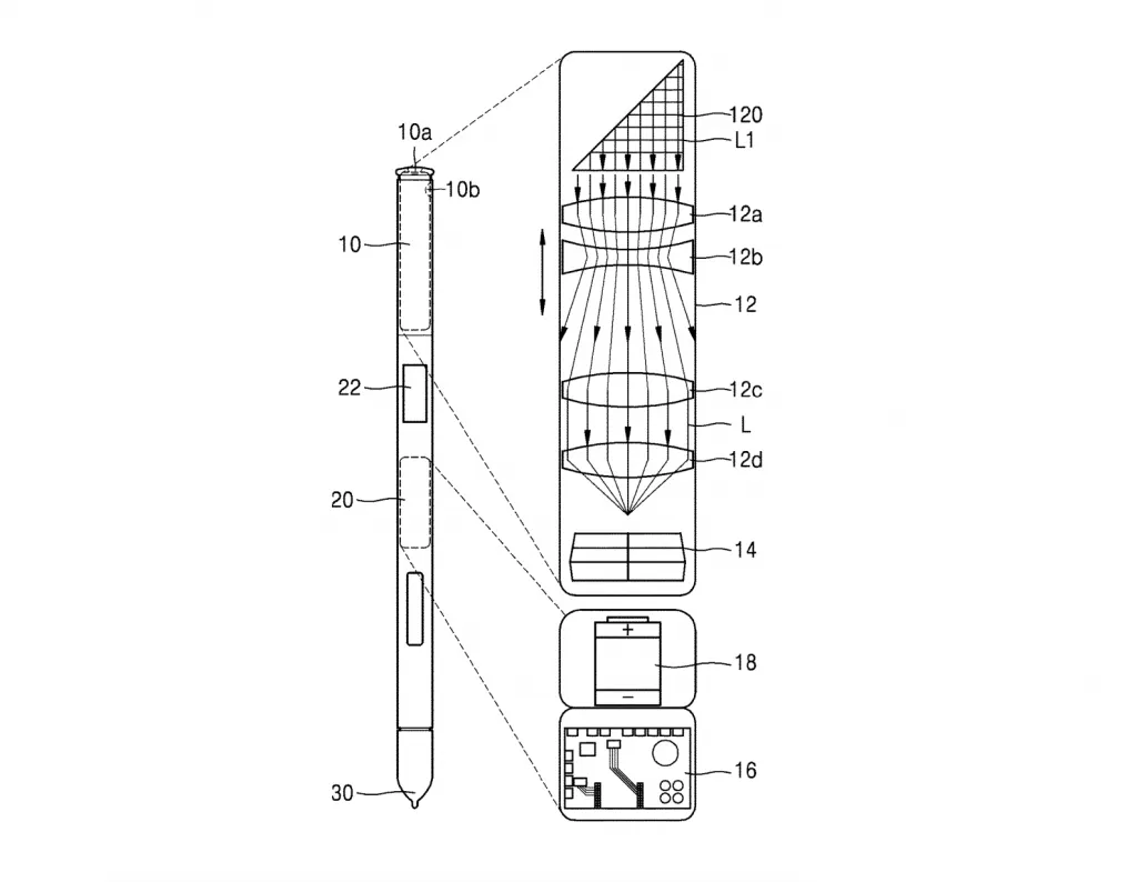
Судя по патенту, в будущий стилус для смартфонов Galaxy Note поставят камеру. С помощью нее пользователь сможет делать снимки или даже вести видеоконференции – для этого нужно лишь поставить аксессуар на удобное местно (например, в гнездо для стилуса в смарте).

Получается, переднюю камеру можно будет вообще убрать – никаких массивных «монобровей», каплевидных вырезов или выпадающих фронталок. Тем более, корейцы не любят эту тему.
Минус в том, что от идеи разблокировки смартфона по лицу придется отказаться, плюс стилус может банально потеряться.

В большинстве случаев публикация патента совсем не означает, что производитель будет использовать его в будущем (этот патент вообще был зарегистрирован в феврале 2017 года). Возможно, Samsung таким образом зажимает оригинальную идею, чтобы ее не воплотили в жизнь Apple или китайские бренды.
Релиз Samsung Galaxy Note 10, скорее всего, состоится в конце лета 2019 года.