Это пригодилось бы в Meizu Pro 7, но китайцы не догадались.
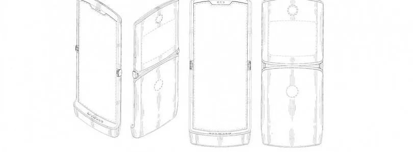
В XDA Developers рассказали, какой будет обновленная раскладушка RAZR от Motorola. Кажется, она выйдет с двойным экраном, один из которых будет к тому же гибким.
Motorola возвращает наш 2004-й! По слухам, новая раскладушка выйдет в юбилейный для RAZR год, известно кодовое имя устройства – Voyager. У модели может быть минимум отличий от оригинала в плане антуража – то есть один дисплей внутри, а второй снаружи.

Вероятно, внутренний дисплей займет обе створки, то есть будет гибким. В раскрытом состоянии дополнительный экран можно будет использовать как трекпад для прокрутки изображения на основном. В закрытом на допдисплей будут выносится шесть быстрых настроек, как на панели управления на iOS – например, NFC, Wi-Fi, сотовая связь, режим энергосбережения и прочее.

Еще есть версия, что RAZR укомплектуют топовым чипом Snapdragon 855, 8 Гбайт оперативной и 128 Гбайт встроенной памяти. А девайс, как сообщалось ранее, будет стоить в районе 1500 долларов и выйдет ограниченным тиражом (200 000 штук).
Релиз может состояться этим летом, а в продажу модель поступит осенью.