Вилсаком был в ярости, когда узнал…
В сети нашли патент Apple на технологию складного дисплея. Согласно описанию, конструкция гибкого экрана защищает его от деформации и поломок при раскрытии.

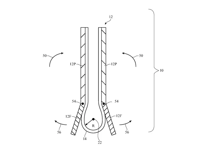
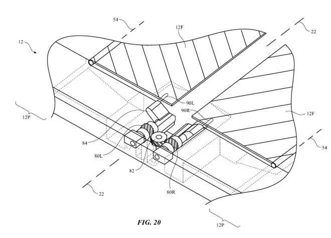
Запатентованный Apple механизм как бы прячет складку экрана в специальную нишу, благодаря которой выдерживается безопасный угол изгиба. Это позволяет сохранить целостность материала, избежать жёсткого сгибания и продлить жизнь дисплея.


Если конструкция будет работать в реальной жизни (а не на бумаге или промослайдах, как в случае с AirPower), то компании Тима Кука удастся решить сразу несколько проблем складных смартфонов. Во-первых, увеличить срок жизни материалов, во-вторых, избавиться от уродливой складки, которая проявляется на дисплее на месте сгиба.

Заметим, что патент обнаружили во вторник – примерно через неделю после того, как Владимир Соловьёв обратился к Apple и попросил сделать фолдер. «Совпадение? Не думаю», – как сказал бы один коллега Соловьёва по телику и ремеслу.
Это не первый случай, когда Apple интересуется концептуальными устройствам. Например, в мае прошлого года в сети нашли патент смартфона с гибким экраном, зарегистрированный компанией из Купертино.
Разумеется, факт появления патента не означает, что Apple думает над созданием своего аппарата со складным экраном. Возможно, таким образом компания намерена либо просто обозначить свой интерес, либо застолбить за собой технологию, чтобы та не досталась конкурентами из Samsung и Huawei.